(网经社讯)3月27日,湖北知名网约车运营商武汉风韵出行信息科技有限公司(简称“风韵出行”)出现经营异常,被内蒙古自治区赤峰市松山区人民法院列为被执行人,执行金额共计15万元,相关执行信息已通过公开司法渠道披露。

公开企业信息显示,风韵出行成立于2016年6月3日,注册地位于武汉市洪山区,法定代表人为杜玲方,注册资本1224.492万元,实缴资本1020.41万元,属于交通运输、仓储和邮政业企业,核心业务涵盖城际拼车、城内快车、专车等网约车服务,同时提供购车、金融、保险等配套服务。
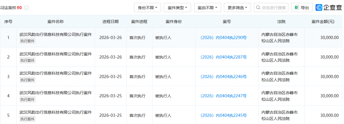
据悉,本次执行由内蒙古自治区赤峰市松山区人民法院立案,执行金额15万元,截至目前,风韵出行尚未披露该笔执行款项的具体由来及后续处理进展。据悉,该法院此前曾多次与风韵出行存在执行关联,2025年9月曾4次将该公司列为被执行人,累计执行金额达12万元。
作为湖北区域知名网约车平台,风韵出行业务布局广泛,目前对外投资21家企业,控制22家企业,设立分支机构达600家,拥有行政许可304个,与上汽集团、东风汽车等企业有产业链合作,平台注册参保人数229人,业务覆盖多地。
与此同时,该公司过往存在较多经营风险及违规记录。公开信息显示,风韵出行成立至今累计被行政处罚次数超过340次,单笔处罚金额多在0.5万元至3万元之间,绝大多数违规原因与驾驶员无证运营、提供服务的车辆未取得《网络预约出租汽车运输证》有关。2026年以来,该公司已多次因车辆违规运营被监管部门处罚,涉及武汉、揭阳、黄山等多个城市。
司法风险方面,风韵出行累计涉及司法案件85条,裁判文书26条,立案信息77条,开庭公告76条,除本次及2025年的执行记录外,其分公司也曾多次因融资租赁合同纠纷、行政案件被列为被执行人。此外,2025年11月,该公司汕尾市分公司的《网络预约出租汽车经营许可证》被当地交通运输局注销。
值得注意的是,风韵出行近期有多项企业变动,2026年2月8日,公司注册资本从1020.41万元增至1224.492万元,同时新增股东高行(天津)管理咨询有限公司,股东构成出现调整。但此次增资及股东变更后不久,公司便被列为被执行人,引发市场对其经营状况的关注。
当前,国内网约车行业监管持续趋严,各地交通运输部门不断加强对网约车平台的合规监管,重点查处车辆无证运营、驾驶员违规上岗等行为,推动行业规范健康发展。此前,哈尔滨、汕尾等地已先后对不符合经营条件的网约车平台采取撤销许可、注销资质等措施,行业合规门槛持续提升。


































.png)


